ปัดขึ้นและลง
หลักการทำงาน
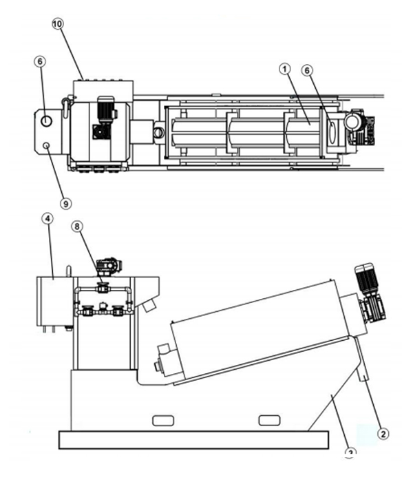
เครื่องอัดตะกอนจากน้ำแบบสกรู (Screw Press) มีโครงสร้างด้วยไส้กรองที่ประกอบด้วยวงแหวน 2 ประเภท ได้แก่ แหวนยึดอยู่กับที่และแหวนเคลื่อนที่ และสกรูที่ดันไส้กรองและถ่ายเทและดันกากตะกอน
ปัดขึ้นและลง
หลักการทำงาน
เครื่องอัดตะกอนจากน้ำแบบสกรู (Screw Press) มีโครงสร้างด้วยไส้กรองที่ประกอบด้วยวงแหวน 2 ประเภท ได้แก่ แหวนยึดอยู่กับที่และแหวนเคลื่อนที่ และสกรูที่ดันไส้กรองและถ่ายเทและดันกากตะกอน

| เอ็นเอช-303 ชื่อชิ้นส่วน | |||
| เลขที่. | ชื่อ | วัสดุ | หมายเหตุ |
| ① | ร่างกายแยกน้ำออก | SUS304 | |
| ② | เต้าเสียบโคลนสูงจากพื้นดิน | SUS304 | 620มม |
| ③ | แผ่นด้านล่างของตัวเครื่องแยกน้ำออก | SUS304 | รูรับแสง:4-020 |
| ④ | ถังจ่ายยา | SUS304 | L300*W350*H760(มม.) |
| ⑤ | ถังผสมตกตะกอน | SUS304 | L840*W840*H960(มม.) |
| ⑥ | เครื่องผสมถังผสม | SUS304 | ประเภทของสารละลายสกรู |
| ⑦ | หลอดปรับระดับของเหลว | SUS304 | |
| ⑧ | โซลินอยด์วาล์วจ่ายน้ำ | SUS304 | ดีเอ็น20 |
| ⑨ | สวิตช์ระดับของเหลว | SUS304 | |
| ⑩ | ตู้คอนโทรลไฟฟ้า | SUS304 | ไม่จำเป็น |
| การเชื่อมต่ออินเตอร์เฟส | |||
| เลขที่ | ชื่อ | ลำกล้อง | ส่วนเชื่อมต่อ |
| เอ็นเอช-1 | ท่าเรือลำเลียงกากตะกอน | DN40 | อินเตอร์เฟสพีวีซี |
| เอ็นเอช-2 | ช่องระบายน้ำกรอง | DN80 | หน้าแปลน (SUS) |
| NH-3 | พอร์ตจ่ายน้ำ | ดีเอ็น20 | อินเตอร์เฟสพีวีซี |
| เอ็นเอช-4 | พอร์ตลำเลียงของเหลวเคมี | ดีเอ็น20 | อินเตอร์เฟสพีวีซี |
| เอ็นเอช-5 | พอร์ตกรดไหลย้อน | DN80 | อินเตอร์เฟสพีวีซี |
| เอ็นเอช-6 | ช่องระบายถังผสม | DN50 | บอลวาล์ว(พีวีซี) |
| พารามิเตอร์การเลือก | |
| กำลังการประมวลผล | 90~150(DS-กก./ชม.) |
| ปริมาณการใช้ไฟฟ้า | 3 กิโลวัตต์ต่อชั่วโมง |
| ปริมาณการใช้น้ำล้าง | 120L/ชม |
| อัตราการเติมโพลิเมอร์ตกตะกอน | สำหรับ DST~0.3% |
| ความถี่ในการจัดการบำรุงรักษา | 5 นาที/วัน |
| แรงดันน้ำประปา | 0.1~0.2MPa |
| ระยะการปล่อยเค้กโคลนจากพื้นดิน | 620มม |
| ขนาดเครื่องกล | L3605*W1470*H1780(มม.) |
| น้ำหนักสุทธิ | 1358กก |
| น้ำหนักใช้งาน | 2750กก. |
อ่านเพิ่มเติม

| เอ็นเอช-302 ชื่อชิ้นส่วน | |||
| เลขที่. | ชื่อ | วัสดุ | หมายเหตุ |
| ① | ร่างกายแยกน้ำออก | SUS304 | |
| ② | เต้าเสียบโคลนสูงจากพื้นดิน | SUS304 | 630มม |
| ③ | แผ่นด้านล่างของตัวเครื่องแยกน้ำออก | SUS304 | รูรับแสง:4-.20 |
| ④ | ถังจ่ายยา | SUS304 | _300*W350*H760(มม.) |
| ⑤ | ถังผสมตกตะกอน | SUS304 | L720*W720*H960(มม.) |
| ⑥ | เครื่องผสมถังผสม | SUS304 | ประเภทของสารละลายสกรู |
| ⑦ | หลอดปรับระดับของเหลว | SUS304 | |
| ⑧ | โซลินอยด์วาล์วจ่ายน้ำ | SUS304 | ดีเอ็น20 |
| ⑨ | สวิตช์ระดับของเหลว | SUS304 | |
| ⑩ | ตู้คอนโทรลไฟฟ้า | SUS304 | ไม่จำเป็น |
| การเชื่อมต่ออินเตอร์เฟส | |||
| เลขที่ | ชื่อ | ลำกล้อง | ส่วนเชื่อมต่อ |
| เอ็นเอช-1 | ท่าเรือลำเลียงกากตะกอน | DN40 | อินเตอร์เฟสพีวีซี |
| เอ็นเอช-2 | ช่องระบายน้ำกรอง | DN80 | หน้าแปลน (SUS) |
| NH-3 | พอร์ตจ่ายน้ำ | ดีเอ็น20 | อินเตอร์เฟสพีวีซี |
| เอ็นเอช-4 | พอร์ตลำเลียงของเหลวเคมี | ดีเอ็น20 | อินเตอร์เฟสพีวีซี |
| เอ็นเอช-5 | พอร์ตกรดไหลย้อน | DN80 | อินเตอร์เฟสพีวีซี |
| เอ็นเอช-6 | ช่องระบายถังผสม | DN50 | บอลวาล์ว(พีวีซี) |
| พารามิเตอร์การเลือก | |
| กำลังการประมวลผล | 60~100(DS-กก./ชม.) |
| ปริมาณการใช้ไฟฟ้า | 2.25กิโลวัตต์/ชม |
| ปริมาณการใช้น้ำล้าง | 80L/ชม |
| อัตราการเติมโพลิเมอร์ตกตะกอน | สำหรับ DS/T~0.3% |
| ความถี่ในการจัดการบำรุงรักษา | 5 นาที/วัน |
| แรงดันน้ำประปา | 0.1~0.2MPa |
| ระยะการปล่อยเค้กโคลนจากพื้นดิน | 630มม |
| ขนาดเครื่องกล | L3605*W1060*H1780(มม.) |
| น้ำหนักสุทธิ | 968กก |
| น้ำหนักใช้งาน | 2030กก. |
อ่านเพิ่มเติม

| เอ็นเอช-301 ชื่อชิ้นส่วน | |||
| เลขที่. | ชื่อ | วัสดุ | หมายเหตุ |
| ① | ร่างกายแยกน้ำออก | SUS304 | |
| ② | เต้าเสียบโคลนสูงจากพื้นดิน | SUS304 | 640มม |
| ③ | แผ่นด้านล่างของตัวเครื่องแยกน้ำออก | SUS304 | รูรับแสง:4-20 |
| ④ | ถังจ่ายยา | SUS304 | L300*W350*H760(มม.) |
| ⑤ | ถังผสมตกตะกอน | SUS304 | L450*W450*H960(มม.) |
| ⑥ | เครื่องผสมถังผสม | SUS304 | ประเภทของสารละลายสกรู |
| ⑦ | หลอดปรับระดับของเหลว | SUS304 | |
| ⑧ | โซลินอยด์วาล์วจ่ายน้ำ | SUS304 | ดีเอ็น20 |
| ⑨ | สวิตช์ระดับของเหลว | SUS304 | |
| ⑩ | ตู้คอนโทรลไฟฟ้า | SUS304 | ไม่จำเป็น |
| การเชื่อมต่ออินเตอร์เฟส | |||
| เลขที่. | ชื่อ | ลำกล้อง | ส่วนเชื่อมต่อ |
| เอ็นเอช-1 | ท่าเรือลำเลียงกากตะกอน | DN40 | อินเตอร์เฟสพีวีซี |
| เอ็นเอช-2 | ช่องระบายน้ำกรอง | DN80 | หน้าแปลน (SUS) |
| NH-3 | พอร์ตจ่ายน้ำ | ดีเอ็น20 | อินเตอร์เฟสพีวีซี |
| เอ็นเอช-4 | พอร์ตลำเลียงของเหลวเคมี | ดีเอ็น20 | อินเตอร์เฟสพีวีซี |
| เอ็นเอช-5 | พอร์ตกรดไหลย้อน | DN80 | อินเตอร์เฟสพีวีซี |
| เอ็นเอช-6 | ช่องระบายถังผสม | DN50 | บอลวาล์ว(พีวีซี) |
| พารามิเตอร์การเลือก | |
| กำลังการประมวลผล | 30~50(DS-กก./ชม.) |
| ปริมาณการใช้ไฟฟ้า | 1.5กิโลวัตต์/ชม |
| ปริมาณการใช้น้ำล้าง | 40L/ชม |
| อัตราการเติมโพลิเมอร์ตกตะกอน | สำหรับ DST~0.3% |
| ความถี่ในการจัดการบำรุงรักษา | 5 นาที/วัน |
| แรงดันน้ำประปา | 0.1~0.2MPa |
| ระยะการปล่อยเค้กโคลนจากพื้นดิน | 700มม |
| ขนาดเครื่องกล | L3250*W950*H1780(มม.) |
| น้ำหนักสุทธิ | 568กก |
| น้ำหนักใช้งาน | 1200กก. |
อ่านเพิ่มเติม

| เอ็นเอช-131 ชื่อชิ้นส่วน | |||
| เลขที่. | ชื่อ | วัสดุ | หมายเหตุ |
| ① | ร่างกายแยกน้ำออก | SUS304 | |
| ② | เต้าเสียบโคลนสูงจากพื้นดิน | SUS304 | 480มม |
| ③ | แผ่นด้านล่างของตัวเครื่องแยกน้ำออก | SUS304 | รูรับแสง:4-020 |
| ④ | ถังจ่ายยา | SUS304 | L200*W250*H500(มม |
| ⑤ | ถังผสมตกตะกอน | SUS304 | L380*W380*H700(มม.) |
| ⑥ | เครื่องผสมถังผสม | SUS304 | ประเภทของสารละลายสกรู |
| ⑦ | หลอดปรับระดับของเหลว | SUS304 | |
| ⑧ | โซลินอยด์วาล์วจ่ายน้ำ | SUS304 | ดีเอ็น20 |
| ⑨ | สวิตช์ระดับของเหลว | SUS304 | |
| ⑩ | ตู้คอนโทรลไฟฟ้า | SUS304 | ไม่จำเป็น |
| การเชื่อมต่ออินเตอร์เฟส | |||
| เลขที่. | ชื่อ | ลำกล้อง | ส่วนเชื่อมต่อ |
| NH-1 | ท่าเรือลำเลียงกากตะกอน | DN40 | อินเตอร์เฟสพีวีซี |
| เอ็นเอช-2 | ช่องระบายน้ำกรอง | DN80 | สายด้านใน(304) |
| เอ็นเอช-3 | พอร์ตจ่ายน้ำ | ดีเอ็น20 | อินเตอร์เฟสพีวีซี |
| เอ็นเอช-4 | พอร์ตลำเลียงของเหลวเคมี | ดีเอ็น20 | อินเตอร์เฟสพีวีซี |
| เอ็นเอช-5 | พอร์ตกรดไหลย้อน | DN80 | อินเตอร์เฟสพีวีซี |
| เอ็นเอช-6 | ช่องระบายถังผสม | DN50 | บอลวาล์ว(พีวีซี) |
| พารามิเตอร์การเลือก | |
| กำลังการประมวลผล | 20~35(D5-กก./ชม.) |
| ปริมาณการใช้ไฟฟ้า | 0.3กิโลวัตต์/ชั่วโมง |
| ปริมาณการใช้น้ำล้าง | 32L/ชม |
| อัตราการเติมโพลิเมอร์ตกตะกอน | สำหรับ DS/T~0.3% |
| ความถี่ในการจัดการบำรุงรักษา | 5 นาที/วัน |
| แรงดันน้ำประปา | 0.1~0.2MPa |
| ระยะการปล่อยเค้กโคลนจากพื้นดิน | 480มม |
| ขนาดเครื่องกล | L2600*W800*H1480(มม.) |
| น้ำหนักสุทธิ | 450กก |
| น้ำหนักใช้งาน | 700กก. |
อ่านเพิ่มเติม

| เอ็นเอช-202 ชื่อชิ้นส่วน | |||
| เลขที่. | ชื่อ | วัสดุ | หมายเหตุ |
| ① | ร่างกายแยกน้ำออก | SUS304 | |
| ② | เต้าเสียบโคลนสูงจากพื้นดิน | SUS304 | 400มม |
| ③ | แผ่นด้านล่างของตัวเครื่องแยกน้ำออก | SUS304 | รูรับแสง:4-20 |
| ④ | ถังจ่ายยา | SUS304 | L300*W300*H550(มม.) |
| ⑤ | ถังผสมตกตะกอน | SUS304 | L420*W420*H700(มม.) |
| ⑥ | เครื่องผสมถังผสม | SUS304 | ประเภทของสารละลายสกรู |
| ⑦ | หลอดปรับระดับของเหลว | SUS304 | |
| ⑧ | โซลินอยด์วาล์วจ่ายน้ำ | SUS304 | ดีเอ็น20 |
| ⑨ | สวิตช์ระดับของเหลว | SUS304 | |
| ⑩ | ตู้คอนโทรลไฟฟ้า | SUS304 | ไม่จำเป็น |
| การเชื่อมต่ออินเตอร์เฟส | |||
| เลขที่ | ชื่อ | ลำกล้อง | ส่วนเชื่อมต่อ |
| เอ็นเอช-1 | ท่าเรือลำเลียงกากตะกอน | DN40 | อินเตอร์เฟสพีวีซี |
| NH-2 | ช่องระบายน้ำกรอง | DN80 | สายด้านใน(304) |
| เอ็นเอช-3 | พอร์ตจ่ายน้ำ | ดีเอ็น20 | อินเตอร์เฟสพีวีซี |
| เอ็นเอช-4 | พอร์ตลำเลียงของเหลวเคมี | ดีเอ็น20 | อินเตอร์เฟสพีวีซี |
| เอ็นเอช-5 | พอร์ตกรดไหลย้อน | DN80 | อินเตอร์เฟสพีวีซี |
| เอ็นเอช-6 | ช่องระบายถังผสม | DN50 | บอลวาล์ว(พีวีซี) |
| พารามิเตอร์การเลือก | |
| กำลังการประมวลผล | 18~30(DS-กก./ชม.) |
| ปริมาณการใช้ไฟฟ้า | 1.1กิโลวัตต์/ชม |
| ปริมาณการใช้น้ำล้าง | 32L/ชม |
| อัตราการเติมโพลิเมอร์ตกตะกอน | สำหรับ DST~0.3% |
| ความถี่ในการจัดการบำรุงรักษา | 5 นาที/วัน |
| แรงดันน้ำประปา | 0.1~0.2MPa |
| ระยะการปล่อยเค้กโคลนจากพื้นดิน | 400มม |
| ขนาดเครื่องกล | L2000*W950*H1450(มม.) |
| น้ำหนักสุทธิ | 515กก |
| น้ำหนักใช้งาน | 680กก. |
อ่านเพิ่มเติม
หมายเลขสินค้า: NH-201
DS Standard: 9-15KG/H
ข้อมูลอ้างอิงทางทฤษฎีสำหรับปริมาณการบำบัดกากตะกอน: 1.5 ลบ.ม./ชม. (MLSS-10000 มก./ลิตร)
ขนาด: 2500 x 800 x 1450 มม
ข้อมูลจำเพาะของสกรู: 200 มม. x 1 ชิ้น
น้ำหนักสุทธิ : 315 กก
น้ำหนักใช้งาน: 420 KG

| เอ็นเอช-131 ชื่อชิ้นส่วน | |||
| เลขที่. | ชื่อ | วัสดุ | หมายเหตุ |
| ① | ร่างกายแยกน้ำออก | SUS304 | |
| ② | เต้าเสียบโคลนสูงจากพื้นดิน | SUS304 | 500มม |
| ③ | แผ่นด้านล่างของตัวเครื่องแยกน้ำออก | SUS304 | รูรับแสง:4-420 |
| ④ | ถังจ่ายยา | SUS304 | L200*W250*H450(มม.) |
| ⑤ | ถังผสมตกตะกอน | SUS304 | L330W330*H550(มม.) |
| ⑥ | เครื่องผสมถังผสม | SUS304 | ประเภทของสารละลายสกรู |
| ⑦ | หลอดปรับระดับของเหลว | SUS304 | |
| ⑧ | โซลินอยด์วาล์วจ่ายน้ำ | SUS304 | ดีเอ็น20 |
| ⑨ | สวิตช์ระดับของเหลว | SUS304 | |
| ⑩ | ตู้คอนโทรลไฟฟ้า | SUS304 | ไม่จำเป็น |
| การเชื่อมต่ออินเตอร์เฟส | |||
| เลขที่. | ชื่อ | ลำกล้อง | ส่วนเชื่อมต่อ |
| NH-1 | ท่าเรือลำเลียงกากตะกอน | DN40 | อินเตอร์เฟสพีวีซี |
| เอ็นเอช-2 | ช่องระบายน้ำกรอง | DN80 | สายด้านใน(304) |
| เอ็นเอช-3 | พอร์ตจ่ายน้ำ | ดีเอ็น20 | อินเตอร์เฟสพีวีซี |
| เอ็นเอช-4 | พอร์ตลำเลียงของเหลวเคมี | ดีเอ็น20 | อินเตอร์เฟสพีวีซี |
| เอ็นเอช-5 | พอร์ตกรดไหลย้อน | DN80 | อินเตอร์เฟสพีวีซี |
| เอ็นเอช-6 | ช่องระบายถังผสม | DN50 | บอลวาล์ว(พีวีซี) |
| พารามิเตอร์การเลือก | |
| กำลังการประมวลผล | 9~15(D5-กก./ชม.) |
| ปริมาณการใช้ไฟฟ้า | 0.3กิโลวัตต์/ชั่วโมง |
| ปริมาณการใช้น้ำล้าง | 32L/ชม |
| อัตราการเติมโพลิเมอร์ตกตะกอน | สำหรับ DS/T~0.3% |
| ความถี่ในการจัดการบำรุงรักษา | 5 นาที/วัน |
| แรงดันน้ำประปา | 0.1~0.2MPa |
| ระยะการปล่อยเค้กโคลนจากพื้นดิน | 500มม |
| ขนาดเครื่องกล | L2600*W800*H1480(มม.) |
| น้ำหนักสุทธิ | 315กก |
| น้ำหนักใช้งาน | 420กก. |
อ่านเพิ่มเติม

| เอ็นเอช-132 ชื่อชิ้นส่วน | |||
| เลขที่. | ชื่อ | วัสดุ | หมายเหตุ |
| ① | ร่างกายแยกน้ำออก | SUS304 | |
| ② | เต้าเสียบโคลนสูงจากพื้นดิน | SUS304 | รูรับแสง:4-20 |
| ③ | แผ่นด้านล่างของตัวเครื่องแยกน้ำออก | SUS304 | L200*W250*H450(มม.) |
| ④ | ถังจ่ายยา | SUS304 | L330*W330*H550(มม |
| ⑤ | ถังผสมตกตะกอน | SUS304 | ประเภทของสารละลายสกรู |
| ⑥ | เครื่องผสมถังผสม | SUS304 | |
| ⑦ | หลอดปรับระดับของเหลว | SUS304 | |
| ⑧ | โซลินอยด์วาล์วจ่ายน้ำ | SUS304 | ดีเอ็น20 |
| ⑨ | สวิตช์ระดับของเหลว | SUS304 | |
| ⑩ | ตู้คอนโทรลไฟฟ้า | SUS304 | ไม่จำเป็น |
| การเชื่อมต่ออินเตอร์เฟส | |||
| เลขที่. | ชื่อ | ลำกล้อง | ส่วนเชื่อมต่อ |
| NH-1 | ท่าเรือลำเลียงกากตะกอน | DN40 | อินเตอร์เฟสพีวีซี |
| เอ็นเอช-2 | ช่องระบายน้ำกรอง | DN80 | สายด้านใน(304) |
| เอ็นเอช-3 | พอร์ตจ่ายน้ำ | ดีเอ็น20 | อินเตอร์เฟสพีวีซี |
| เอ็นเอช-4 | พอร์ตลำเลียงของเหลวเคมี | ดีเอ็น20 | อินเตอร์เฟสพีวีซี |
| เอ็นเอช-5 | พอร์ตกรดไหลย้อน | DN80 | อินเตอร์เฟสพีวีซี |
| เอ็นเอช-6 | ช่องระบายถังผสม | DN50 | บอลวาล์ว(พีวีซี) |
| พารามิเตอร์การเลือก | |
| กำลังการประมวลผล | 12~20(DS-กก./ชม.) |
| ปริมาณการใช้ไฟฟ้า | 0.3กิโลวัตต์/ชั่วโมง |
| ปริมาณการใช้น้ำล้าง | 24L/ชม |
| อัตราการเติมโพลิเมอร์ตกตะกอน | สำหรับ DS/T~0.3% |
| ความถี่ในการจัดการบำรุงรักษา | 5 นาที/วัน |
| แรงดันน้ำประปา | 0.1~0.2MPa |
| ระยะการปล่อยเค้กโคลนจากพื้นดิน | 300มม |
| ขนาดเครื่องกล | L2000*W700*H1060(มม.) |
| น้ำหนักสุทธิ | 360กก |
| น้ำหนักใช้งาน | 400กก. |
อ่านเพิ่มเติม

| เอ็นเอช-131 ชื่อชิ้นส่วน | |||
| เลขที่. | ชื่อ | วัสดุ | หมายเหตุ |
| ① | ร่างกายแยกน้ำออก | SUS304 | |
| ② | เต้าเสียบโคลนสูงจากพื้นดิน | SUS304 | 280มม |
| ③ | แผ่นด้านล่างของตัวเครื่องแยกน้ำออก | SUS304 | รูรับแสง4-420 |
| ④ | ถังจ่ายยา | SUS304 | L200"W250*H450(มม.) |
| ⑤ | ถังผสมตกตะกอน | SUS304 | L330W330*H550(มม.) |
| ⑥ | เครื่องผสมถังผสม | SUS304 | ประเภทของสารละลายสกรู |
| ⑦ | หลอดปรับระดับของเหลว | SUS304 | |
| ⑧ | โซลินอยด์วาล์วจ่ายน้ำ | SUS304 | ดีเอ็น20 |
| ⑨ | สวิตช์ระดับของเหลว | SUS304 | |
| ⑩ | ตู้คอนโทรลไฟฟ้า | SUS304 | ไม่จำเป็น |
| การเชื่อมต่ออินเตอร์เฟส | |||
| เลขที่ | ชื่อ | ลำกล้อง | ส่วนเชื่อมต่อ |
| NH-1 | ท่าเรือลำเลียงกากตะกอน | DN40 | อินเตอร์เฟสพีวีซี |
| เอ็นเอช-2 | ช่องระบายน้ำกรอง | DN80 | สายด้านใน(304) |
| เอ็นเอช-3 | พอร์ตจ่ายน้ำ | ดีเอ็น20 | อินเตอร์เฟสพีวีซี |
| เอ็นเอช-4 | พอร์ตลำเลียงของเหลวเคมี | ดีเอ็น20 | อินเตอร์เฟสพีวีซี |
| เอ็นเอช-5 | พอร์ตกรดไหลย้อน | DN80 | อินเตอร์เฟสพีวีซี |
| เอ็นเอช-6 | ช่องระบายถังผสม | DN50 | บอลวาล์ว(พีวีซี) |
| พารามิเตอร์การเลือก | |
| กำลังการประมวลผล | 6-10(D5-กก./ชม.) |
| ปริมาณการใช้ไฟฟ้า | 0.2กิโลวัตต์/ชม |
| ปริมาณการใช้น้ำล้าง | 24L/ชม |
| อัตราการเติมโพลิเมอร์ตกตะกอน | สำหรับ DST~0.3% |
| ความถี่ในการจัดการบำรุงรักษา | 5 นาที/วัน |
| แรงดันน้ำประปา | 0.1~0.2MPa |
| ระยะการปล่อยเค้กโคลนจากพื้นดิน | 280มม |
| ขนาดเครื่องกล | L2000*W700*H1060(มม.) |
| น้ำหนักสุทธิ | 182กก |
| น้ำหนักใช้งาน | 280กก. |
อ่านเพิ่มเติม
1
ฝาครอบเหล็กและ วindows PMMA ทำให้ปลอดภัยยิ่งขึ้น
ฝาครอบสเตนเลสสตีลพร้อมที่จับสองอันที่ด้านบนของ boby หลัก และเสริมความแข็งแรงของหน้าต่างกระจกโพลีเมทิลเมทาคริเลตทั้งสองขนาด ฝาครอบทำให้อุปกรณ์ปลอดภัยยิ่งขึ้น และผู้ปฏิบัติงานปลอดภัยเมื่อทำงาน อีกด้วย ผู้ปฏิบัติงานสามารถตรวจสอบเครื่องอย่างระมัดระวังเมื่อทำงานผ่าน Windows
มั่นใจในความปลอดภัย
2
ระบบสปริงเกอร์เหล็กยืดอายุการใช้งาน
ระบบสปริงเกอร์มีความสำคัญมากต่อระบบบำบัดน้ำเสีย เป็นระบบกำจัดน้ำเสียที่ง่ายที่สุดเมื่อใช้งาน ชิ้นส่วนทั้งหมดของระบบสปริงเกอร์ Juntai Screw Press ผลิตโดย SS304 รวมถึงท่อ หัวฉีด และหัวฉีด ซึ่งจะไม่ ต้องเปลี่ยนหัวฉีดสเปย์เออร์
ชีวิตที่ยืนยาวขึ้น
3
รายละเอียดการันตรีคุณภาพ
Nihao ให้ความสำคัญกับทุกรายละเอียดของ Screw Press เช่นพื้นผิว snoothy, การป้องกันสายเคเบิล, ความเสถียรของสายไฟ, รัศมีและมุม snoothy, รอยเชื่อมและรายละเอียดทั้งหมด Juntai พยายามทำให้ดีที่สุดเท่าที่จะทำได้ และนี่คือ วิธีการรับประกันคุณภาพ
เน้นรายละเอียด
4
ชั้นสึกหรอของโลหะผสมโคบอลต์ทำให้สกรูแข็งขึ้น
สกรูทั้งหมดของ Nihao Dewatering machine นั้นเชื่อมชั้นสวมโลหะผสม cabalt ซึ่งแข็งกว่า SS304 มาก และด้วยชั้น waer ของ Aobalt Alloy สกรูจะแข็งกว่าและสามารถใช้งานได้อีกหลายปี
สกรูที่แข็งกว่า
5
ตู้ควบคุม Schneider Electric ของเยอรมนี
เครื่องแยกน้ำ Nihao ติดตั้งกล่องควบคุม Schneider Electric ของเยอรมัน กล่องควบคุมคุณภาพสูงนี้สามารถรับประกันความปลอดภัยได้ดียิ่งขึ้น
ชไนเดอร์ เยอรมนี
6
ปืนฉีดน้ำแรงดันพร้อมสายยางไฟเบอร์กลาส ทำความสะอาดได้ง่ายขึ้น
สกรูทั้งหมดของ Nihao Dewatering machine นั้นเชื่อมชั้นสวมโลหะผสม cabalt ซึ่งแข็งกว่า SS304 มาก และด้วยชั้น waer ของ Aobalt Alloy สกรูจะแข็งกว่าและสามารถใช้งานได้อีกหลายปี
ทำความสะอาดได้ง่ายขึ้น
ติดตั้งถังก่อนการทำให้ข้นและจัดการกับกากตะกอนที่มีความเข้มข้นต่ำได้ดีกว่า
ปรับปรุงข้อบกพร่องของความหนาของแรงโน้มถ่วงและทำให้เป็นจริงสูง การทำให้ข้นขึ้นอย่างมีประสิทธิภาพ การรวมตะกอนและการทำให้หนาขึ้นเข้าด้วยกัน การระบายน้ำทิ้งจะง่ายขึ้น เมื่อรวมเข้ากับแผ่นปลายควบคุม ความเข้มข้นของตะกอนสามารถปรับให้เหมาะสมได้
วงแหวนคงที่และเคลื่อนที่แทนที่ผ้ากรอง
การหมุนของเพลาสกรูจะดันให้แหวนเคลื่อนที่หลุดออกจากวงแหวนยึด ซึ่งจะทำให้กระบวนการทำความสะอาดตัวเองเป็นไปอย่างต่อเนื่องและอัตโนมัติ ทำให้สามารถแยกน้ำออกได้อย่างเสถียรและคงที่โดยไม่ต้องพึ่งน้ำฉีดล้างแรงดันสูงเพื่อป้องกันการอุดตัน นอกจากนี้ยังช่วยให้เหมาะสำหรับกากตะกอนน้ำมัน ซึ่งทำให้เกิดการอุดตันได้ง่ายและยากต่อการบำบัดด้วยอุปกรณ์แยกน้ำประเภทอื่นๆ
เสียงรบกวนต่ำ, การสั่นสะเทือนต่ำ, ประหยัดพลังงาน, ประหยัดน้ำ
ในฐานะที่เป็นส่วนประกอบหลัก สกรูจะหมุนช้ามากที่อัตรา 2-4 รอบต่อนาที ไม่จำเป็นต้องมีการรวมขนาดใหญ่เช่นลูกกลิ้ง ดังนั้นจึงใช้พลังงานต่ำมากและเป็นมิตรต่อสิ่งแวดล้อม การใช้พลังงานของสกรูเพรสคือ 1/20 ของเครื่องหมุนเหวี่ยงซึ่งต้องการการหมุนด้วยความเร็วสูง 1/8 ของการกดสายพาน ซึ่งเพียง 0.01-0.1 Kwh/กิโลกรัม-DS กลไกการทำความสะอาดตัวเองที่เป็นเอกลักษณ์ช่วยป้องกันไม่ให้ตาข่ายกรองอุดตัน จึงไม่จำเป็นต้องใช้น้ำปริมาณมากในการป้องกันการอุดตัน ปริมาณน้ำทำความสะอาดที่ต้องการคือประมาณ 1/115 ของการกดสายพานและ 1/62 ของเครื่องหมุนเหวี่ยง
ลดต้นทุนการลงทุนโครงสร้างพื้นฐาน ปรับปรุงผลการรักษา
สกรูเพรสสามารถบำบัดตะกอนจากถังเติมอากาศและถังตกตะกอนที่สองได้โดยตรง จึงไม่จำเป็นต้องมีตะกอนหนาขึ้นและถังเก็บกากตะกอน การลงทุนด้านโครงสร้างพื้นฐานสามารถประหยัดได้มากและหลีกเลี่ยงปัญหาการปล่อยฟอสฟอรัสได้เป็นอย่างดี ดังนั้นระบบบำบัดน้ำเสียจึงสามารถเพิ่มประสิทธิภาพการกำจัดฟอสฟอรัสได้ ประหยัดการลงทุนด้านโครงสร้างพื้นฐาน เช่น เครื่องผสม เครื่องอัดอากาศ ปั๊มล้าง และอุปกรณ์ที่เกี่ยวข้องอื่นๆ รอยเท้าน้อยลง การลงทุนโครงสร้างพื้นฐานของโรงงานแยกน้ำน้อยลง
การควบคุมอัตโนมัติเต็มรูปแบบ การทำงานและการจัดการที่ง่ายดาย
สกรูเพรสไม่มีส่วนประกอบใดๆ เช่น ผ้ากรองหรือรูกรองที่อุดตันได้ง่าย การทำงานนั้นปลอดภัยและง่ายดาย เครื่องยังสามารถทำงานโดยอัตโนมัติโดยตู้ควบคุม
แอพพลิเคชั่นที่หลากหลาย
สามารถใช้กันอย่างแพร่หลายในสิ่งปฏิกูลของเทศบาล, อาหาร, การฆ่าสัตว์, การพิมพ์และการย้อมสี, อุตสาหกรรมเคมีน้ำมัน, การทำกระดาษ, หนังสัตว์, ยาและอุตสาหกรรมอื่น ๆ ของการบำบัดน้ำเสียจากตะกอน
NIชมAO Screw Press Water ระยะให้บริการ
Screw Press ออกแบบพิเศษมีหลากหลายประเภท ความจุครอบคลุมตั้งแต่ 0.5Kg-DS/h ถึง 1320- 1768Kg-DS/h
สามารถจัดการกับน้ำเสีย ได้แก่ น้ำเสียดิบ น้ำตะกอนเร่ง กากตะกอนเคมีตกตะกอน กากตะกอน DAf
นอกจากนี้เรายังสามารถจัดเตรียมข้อเสนอทางเทคนิคที่เหมาะสมที่สุดตามความต้องการที่แท้จริง
| พิมพ์ | ปริมาณการประมวลผลมาตรฐาน DS |
ข้อมูลอ้างอิงเชิงทฤษฎีสำหรับปริมาณการบำบัดกากตะกอน (ปริมาณการบำบัดเฉพาะถูกกำหนดโดยผลการจับตัวเป็นก้อนของกากตะกอนและสารเคมี) |
||||||
| ความเข้มข้นต่ำ→ความเข้มข้นสูง | 2000มก./ล | 2000มก./ล | 2000มก./ล | 2000มก./ล | 2000มก./ล | 2000มก./ล | ||
| ความสามารถในการบำบัดกากตะกอน | กก./ชม | กก./ชม | ลบ.ม./ชม | ลบ.ม./ชม | ลบ.ม./ชม | ลบ.ม./ชม | ลบ.ม./ชม | ลบ.ม./ชม |
| เอ็นเอช-131 | ~6 | ~10 | ~3 | ~1.2 | ~1 | ~0.5 | ~0.4 | ~0.2 |
| เอ็นเอช-132 | ~12 | ~20 | ~6 | ~2.4 | ~2 | ~1 | ~0.8 | ~0.4 |
เอ็นเอช-201 |
~9 | ~15 | ~4.5 | ~1.8 | ~1.5 | ~0.75 | ~0.6 | ~0.3 |
| เอ็นเอช-202 | ~18 | ~30 | ~9 | ~3.6 | ~3 | ~1.5 | ~1.2 | ~0.6 |
| เอ็นเอช-251 | ~20 | ~35 | ~4 | ~2 | ~1.5 | ~1 | ~0.8 | ~0.4 |
เอ็นเอช-301 |
~30 | ~50 | ~15 | ~6 | ~5 | ~2.5 | ~2 | ~1 |
| เอ็นเอช-302 | ~60 | ~100 | ~30 | ~12 | ~10 | ~5 | ~4 | ~2 |
| เอ็นเอช-303 | ~90 | ~150 | ~45 | ~18 | ~15 | ~ 7.5 | ~6 | ~3 |
| เอ็นเอช-351 | ~60 | ~100 | ~30 | ~12 | ~10 | ~5 | ~4 | ~2 |
| เอ็นเอช-352 | ~120 | ~200 | ~60 | ~24 | ~20 | ~10 | ~8 | ~4 |
เอ็นเอช-401 ![]() |
~90 | ~150 | ~45 | ~18 | ~15 | ~ 7.5 | ~6 | ~3 |
| เอ็นเอช-402 | ~180 | ~300 | ~90 | ~36 | ~30 | ~15 | ~12 | ~6 |
| เอ็นเอช-403 | ~270 | ~450 | ~135 | ~54 | ~45 | ~22.5 | ~18 | ~9 |
| เอ็นเอช-404 | ~360 | ~600 | ~180 | ~72 | ~60 | ~30 | ~24 | ~12 |
| แบบอย่าง |
เพลาเกลียว ข้อมูลจำเพาะ |
ขนาดเครื่องกล | น้ำหนักสุทธิ | น้ำหนักใช้งาน | ||
|
ความยาว (ตัวแปร) |
ความกว้าง (ตัวแปร) |
ความสูง (ตัวแปร) |
||||
| มม.* ชิ้น | มม | มม | มม | กิโลกรัม | kg | |
| เอ็นเอช-131 | 130*1 | 1960 | 800 | 1150 | 182 | 280 |
| เอ็นเอช-132 | 132*2 | 2100 | 850 | 1150 | 360 | 400 |
เอ็นเอช-201 ![]() |
200*1 | 2500 | 800 | 1450 | 315 | 420 |
| เอ็นเอช-201 | 200*2 | 2600 | 950 | 1450 | 515 | 680 |
| เอ็นเอช-251 | 250*1 | 2600 | 850 | 1500 | 450 | 700 |
| เอ็นเอช-301 | 300*1 | 3100 | 900 | 1800 | 568 | 1200 |
| เอ็นเอช-302 | 300*2 | 3400 | 1200 | 1800 | 968 | 2030 |
| เอ็นเอช-303 | 300*3 | 3700 | 14500 | 1800 | 1358 | 2750 |
| เอ็นเอช-351 | 350*1 | 3400 | 950 | 1900 | 800 | 1100 |
| เอ็นเอช-352 | 350*2 | 3700 | 1400 | 1900 | 1400 | 3300 |
| เอ็นเอช-401 | 400*1 | 3800 | 1100 | 2100 | 1085 | 2400 |
| เอ็นเอช-402 | 400*2 | 4100 | 1500 | 2050 | 2200 | 4200 |
| เอ็นเอช-403 | 400*3 | 4370 | 1800 | 2150 | 3300 | 6300 |
| เอ็นเอช-404 | 400*4 | 4800 | 2600 | 2050 | 4500 | 7200 |
NIHAO SCREW (การกำหนดค่ามาตรฐาน)
กากตะกอนถังควบคุมการไหลถูกป้อนเข้าสู่ถังควบคุมการไหลโดยปั๊มกากตะกอน และควบคุมด้วยท่อน้ำล้น ส่งคืนปริมาตรส่วนเกินไปยังถังเก็บกากตะกอน
Flocculation Tank กวนและผสมกากตะกอนกับโพลิเมอร์ ขึ้นรูป "floc" ที่เหมาะสม
Dewatering Cylinder กากตะกอนปรับสภาพจะหนาขึ้นใน โซนหนาของกระบอกสูบและความดันภายใน เพิ่มขึ้นที่บริเวณแยกน้ำออกช่วยให้ตะกอนน้ำเสียดีขึ้น
Discharge Outlet สำหรับ Sludge Cake ใช้แรงดันเพิ่มเติมจาก ด้านทางออกกับแผ่นปิดท้าย, ปล่อยตะกอนเค้กด้วย 20+ เนื้อหาที่เป็นของแข็ง 5%
โครงสร้าง
เครื่องเตรียมโพลิเมอร์อัตโนมัติ
ข้อมูลจำเพาะ
| แบบอย่าง |
ความจุ (ลิตร/ชั่วโมง) |
ผง สิ่งที่กระโดด ความจุ (แอล) |
วัสดุ |
พลัง (กิโลวัตต์) |
ขนาด (มม.) |
น้ำหนัก (กิโลกรัม) |
||
| L | W | H | ||||||
| เอ็นเอช-500แอล | 50 | 65 | SUS304 | 0.99 | 1400 | 1520 | 1520 | 280 |
| เอ็นเอช-1000แอล | 1000 | 65 | SUS304 | 0.99 | 2000 | 1300 | 1300 | 410 |
| เอ็นเอช-2000แอล | 2000 | 65 | SUS304 | 1.36 | 2400 | 1520 | 1520 | 550 |
| NH-4000L | 4000 | 6 | SUS304 | 1.36 | 3000 | 1800 | 1800 | 680 |
| เอ็นเอช-5000แอล | 5000 | 65 | SUS304 | 3.55 | 4000 | 1550 | 1550 | 960 |
| NH-6000L | 6000 | 65 | SUS304 | 3.55 | 4000 | 1800 | 1800 | 1050 |
| NH-8000L | 8000 | 65 | SUS304 | 4.65 | 4500 | 1800 | 1800 | 1280 |
| NH-10000L | 10000 | 100*2 | SUS304 | 4.9 | 5000 | 1800 | 1800 | 1560 |
หน่วยเตรียมโพลิเมอร์อัตโนมัติสำหรับการเตรียมโพลิเมอร์แบบผง ออกแบบมาเพื่อความเป็นเนื้อเดียวกันในความเข้มข้นของสารตกตะกอน
การออกแบบที่เหมาะสมที่สุดช่วยให้มั่นใจได้ว่าพอลิเมอร์จะผ่านกระบวนการสุกเต็มที่โดยใช้รอยเท้าที่เล็กที่สุด
หน่วยเตรียม PE POLYMER
ข้อมูลจำเพาะ
| แบบอย่าง |
ความจุ (ลิตร/ชั่วโมง) |
ขนาด (มม.) |
พลัง (กิโลวัตต์) |
มอเตอร์ผสม (กิโลวัตต์) |
ปั๊มจ่ายยา (กิโลวัตต์) |
||
| L | W | H | |||||
| NH-500L-PE-1 | 500 | 830 | 1410 | 1580 | 1 | 0.75 | 0.25 |
| NH-500L-PE-2 | 1000 | 830 | 1410 | 1580 | 2 | 0.75*2 | 0.25*2 |
| NH-500L-PE-3 | 1500 | 2490 | 1410 | 1580 | 3 | 0.75*3 | 0.25*3 |
| NH-1000L-PE-1 | 1000 | 1120 | 1720 | 1706 | 1 | 0.75 | 0.25 |
| NH-1000L-PE-2 | 2000 | 2240 | 1720 | 1706 | 2 | 0.75*2 | 0.25*2 |
| NH-1000L-PE-3 | 3000 | 3360 | 1720 | 1706 | 3 | 0.75*3 | 0.25*3 |
| NH-2000L-PE-1 | 2000 | 1400 | 2000 | 2200 | 1.65 | 1.1 | 0.55 |
| NH-2000L-PE-2 | 4000 | 2800 | 2000 | 2200 | 3.3 | 1.1*2 | 0.55*2 |
| NH-2000L-PE-3 | 6000 | 6200 | 2000 | 2200 | 4.95 | 1.1*3 | 0.55*3 |
ให้ความสนใจกับข่าวสารและนิทรรศการล่าสุดของเรา
ดูเพิ่มเติม
เกี่ยวกับ สกรูอัดกากตะกอนน้ำเสีย เครื่องอัดตะกอนจากน้ำเสียเป็นเทคโนโลยีที่สำคัญในกระบวนการบำบัดน้ำเสีย ใช้เพื่อกำจัดปริมาณน้ำออกจากกากตะกอนหรือไบโอ...
อ่านเพิ่มเติม>
1. Pre-Start Inspection 1) Inspect the equipment for any severe deformation or extensive damage to the paint (minor abrasions during transportation are normal). 2...
อ่านเพิ่มเติม>